|

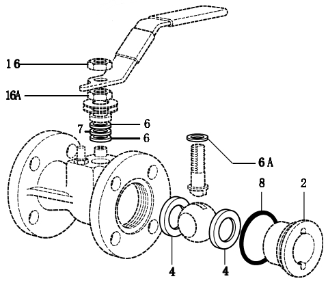
安装 尽管该阀门的结构相当完善,管路严重对中不佳和/或管路长度不正确而引起的拉伸会对阀门产广}毛不利影响,必须避免。特别注意正确的管路对中性,保证管路矛I I阀门处于同一轴上。 阀门用于开关应用,可双向流动,用于蒸汽系统时: 1.阀门上游安装疏水阀。 2.缓慢打开阀门,避免水锤。 安全要点 在拆卸和调试前,确认管路中没有介质流动。管路在某处被截止,或者流体的流动被中断。在拆卸阀门前,管路中的流体必须被排放掉。 维修 简介 当更换阀座和阀门重新装配时,建议对阀体作 冷态测试试验: 30 bar g阀门ANST 150 75 bar g阀门ANST 300 60 bar g阀门PN40用压力为7bar g的压缩空气进行阀座泄漏测试的工具拆除旋入式刻边角圆整)(大书板浪上拆卸阀体为拆卸阀门,rTn盖该工具可由合的钢封盖的孔中,需用很_此囚考虑在台虎钳上繁力‘丁开入囚工田作合制结不能加热。 另外,整个阀门可返回斯派莎克,进行维修服务 更换主阀杆密封和阀座 如果旧的‘0'型环衬垫被用于接近315°C或更高的温度,它可能会分解,形成氢氟酸避免接触和吸入任何烟气,该酸将导致皮肤烧伤,损坏呼吸系统有关氟化橡胶更详细的细节可从斯派莎克的信息资料中查到。 1.从管路中取下阀门(见安个守则)。 2.使用特殊工具一斯派莎克可提供样品,拧下封盖(2)。见警告 3.接下来可以拆下阀座(4)和球,抽出阀杆,更换新的阀杆密封(6A) 4.重新装配新的‘0'型环(8)。见警告 5.在封盖螺纹上涂以PTFF为幕质的密封材料 6.封盖(2)应按表中力矩拧紧 1. $K}$}} <16}p16A) 2.更换阀杆密封(6: R-PTFF和7:石墨) 注:若发现阀杆有泄漏,可拧紧压盖螺母<16A),无需更换阀杆密封压紧螺母(16A)应按下表中的力矩拧紧

以上内容由彪维公司(www.bilvie.com)编写,转载请注明文章出处。 |